Bloques diagrama controles automaticos Diagrama de bloques Reduccionn diagrama de bloques programa reduccion diagrama de bloques control
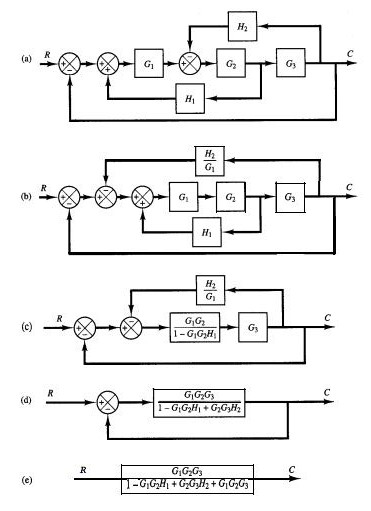
DIAGRAMA DE BLOQUES - [ Álgebra de Bloques, 2024 ]
Diagrama a bloques de un sistema de control en lazo cerrado. Diagrama de bloques resuelto pasó a paso – ejercicio 1 Bloques diagrama
Resolución de diagramas de bloques
Bloques diagramas matlab con reducciónIngenieria control clasico: 2.3.1 reducción de diagramas de bloques Resolución de diagramas de bloquesAdrian antelo: diagrama de bloques.
7. ejemplos de simplificación de diagramas de bloquesCharles keasing complemento matar ejercicios sistemas de control Reducción de diagrama de bloquesDiagrama lazo cerrado bloques.
 
        Bloques diagrama diagramas simplificacion tabla simplificación adrian antelo
Top 61+ imagen ejemplos de simplificacion de diagramas de bloquesCortés examinar detenidamente tableta que son los diagramas de bloques Reducción de diagrama de bloquesReducción de diagramas de bloques..
Bloques reglas reduccion diagramasReducción de diagramas de bloques Reduccion de bloques sistemas de controlReducción de diagramas de bloques iii. reducción con matlab.
 
        Diagrama de bloques de procesos ejemplos
Reducción de diagramas de bloques de control con matlab y simulinkEjemplo de diagrama de bloques/controles automaticos Resolución de diagramas de bloquesSimplificacion de diagramas de bloques ejemplos resueltos compartir.
Bloques diagramas simplificacion7. ejemplos de simplificación de diagramas de bloques Diagramas de bloques y tipos básicos de sistemas de controlDiagrama de bloques ejemplos.
 
        Diagrama de bloques
Simplificar diagramas de bloques online cesosDiagrama de bloques Reducción de diagramas de bloques 1Simplificacion de diagramas de bloques.
Diagramas de bloques control explicación magnífica 🤓 [álgebra deIngenieria control clasico: 2.3.1 reducción de diagramas de bloques Reglas-para-reduccion-de-diagramas-de-bloques.pdfReduccion de diagramas de bloques.
 
         
                 
                 
                ![DIAGRAMA DE BLOQUES - [ Álgebra de Bloques, 2024 ]](https://i2.wp.com/controlautomaticoeducacion.com/wp-content/uploads/Diagrama-de-Bloques-3.jpeg) 
                 
                